Oggi su segnalazione di Marco Quadrella abbiamo messo mano ad un nuovo brevetto depositato il 24 Luglio 2012 e pubblicato Giovedì 31 Gennaio 2013.
Il brevetto in questione tra le altre cose incorpora al suo interno il precedente del 25 Luglio 2011 che parlava proprio di “Interfaccia per i risultati degli Hotel”.
Sul forum se ne era parlato già pochi giorni dopo il lancio ufficiale del 28 Luglio 2011. Oggi a distanza di 1 anno e mezzo si scopre che il primo dei brevetti fu depositato proprio 3 giorni prima del lancio senza mai essere stato reso pubblico. La cosa davvero interessante e impressionante è come le interfacce pensate nel brevetto rispecchino esattamente la prima versione del layout di Google Hotel Finder.
Questa questione che ci è sembrato curioso riprendere, sicuramente aprirà il dibattito e alimenterà l’eterna discussione relativa ai brevetti: “Prestarvi attenzione oppure no?”
Ci sono infatti, fondamentalmente, 2 correnti di pensiero SEO in merito, una quella che sostiene di non considerarli perché non è sempre garantito che tutti i brevetti vengano poi applicati e l’altra che sostiene invece la quasi sicurezza che quando un brevetto viene depositato, Google lo ha già implementato.
Perché nasce Google Hotel Finder
Users can use various web sites to plan travel including reserving hotel stays. Conventionally, a user navigates to either a web site corresponding to a particular entity (e.g., a site belonging to a specific hotel or hotel brand) or to a web based travel booking site that provides access to several different hotels. Once the user has identified an itinerary for travel (e.g., a particular hotel for a particular date range), they can typically purchase the itinerary directly through the web site.
Dunque l’analisi che viene fatta per iniziare i lavori sembra abbastanza scontata:
“Gli utenti possono utilizzare vari siti web per programmare il loro viaggio, incluso la prenotazione del soggiorno in hotel. Convenzionalmente, un utente naviga sia un sito web corrispondente ad una particolare entità (ad esempio, un sito appartenente a un determinato albergo o catena alberghiera), o un portale di viaggi che fornisce anche un elenco di hotel diversi. Una volta che l’utente ha identificato un itinerario di viaggio (ad esempio, un hotel particolare per un determinato intervallo di date), in genere può acquistare il percorso direttamente attraverso il sito web.”
La progettazione e la realtà
L’elenco hotel e i filtri di ricerca
Dettaglio della scheda hotel espanso
Ricerca sulla mappa
Affinamento area di ricerca
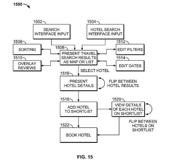
Il diagramma di flusso
Come si presenta oggi Hotel Finder?
Oggi Google Hotel Finder è già diverso e uniformato all’estetica e interfaccia del Google 2012/2013, ma le informazioni e le funzionalità sono le stesse.
Conclusioni
Hotel Finder è solo un esempio, e un pretesto, per aprire il dibattito. Pensate che sia importante avere un occhio di riguardo per i brevetti oppure credete che siano inutili? In questo caso il tempismo e la perfezione sono disarmanti.
Sarebbe molto bello capire cosa ne pensano i SEO dei brevetti e di come questi possano davvero essere una parte integrante del nostro lavoro di studio e ricerca per poter in alcuni casi anticipare il motore o almeno captare dei segnali che potrebbero farci prendere delle decisioni lungimiranti.
Quando si legge un brevetto di Google, a meno di casi eclatanti come questo, non si ha la certezza che esso sia stato o sarà implementato; ritengo, però, che una lettura critica dei brevetti più interessanti sia comunque raccomandabile. Viene presentato un problema per come è vissuto dagli ingegneri di Google e poi leggiamo la proposta di una soluzione ragionevole. Idea e applicazione: come fare esercizi di fisica alle superiori. La maggior parte delle volte il modello studiato non è applicabile alla realtà, ma è il modo di ragionare che rimane.
Marco Quadrella
E tu, di che scuola di pensiero sei? A TE la parola!
Articoli su Google Hotel Finder che potrebbero interessarvi:
- Google Hotel Finder spiegato da Riccardo Perini
- Google Hotel Finder: Big G torna a lanciarsi nel settore dell’ospitalità
- Google Hotel Finder paura o forse no
- Expedia cede, Booking sale, Groupon esplode e Google Hotel Finder destabilizza…ma tutti pronti a succhiare ancora!
Image credits: https://bit.ly/XND1TR, https://bit.ly/XND42b, https://bit.ly/XND4Pw, https://bit.ly/XND7uQ




















Quando si legge un brevetto di Google, a meno di casi eclatanti come questo, non si ha la certezza che esso sia stato o sarà implementato; ritengo, però, che una lettura critica dei brevetti più interessanti sia comunque raccomandabile. Viene presentato un problema per come è vissuto dagli ingegneri di Google e poi leggiamo la proposta di una soluzione ragionevole. Idea e applicazione: come fare esercizi di fisica alle superiori. La maggior parte delle volte il modello studiato non è applicabile alla realtà, ma è il modo di ragionare che rimane.


Come si fa a sapere quando Google rilascia un nuovo brevetto?
Grazie
Ciao
Salve Gianni.
Quando i brevetti vengono pubblicati sui canali ufficiali (molto poco usabili), sono poi aggregati e organizzati da siti specializzati.
Sfruttand uno di questi ultimi puoi usare questo feed come sistema di notifiche: https://www.latestpatents.com/category/google/feed/ .
Spero di esserti stato d’aiuto.
Buon lavoro,
Marco.